Здоровье и красота
Ингаляция от кашля
Источник: www.gorod495.ru
1. Ингаляции от простудного кашля.
Специальный ингалятор НЕ НУЖЕН! С тем же успехом можно обойтись обыкновенной ГРЕЛКОЙ, которая есть, практически, в любом доме
.
2. При долгом и затяжном кашле.
Если у вас очень долгий и затяжной кашель, можно через раз использовать ещё один состав ингаляции.
3. При хроническом и застарелом кашле.
Будьте ОСТОРОЖНЫ! Если вы залили в грелку кипяток, то подержите ее с открытым горлышком, медленно перемешивая ее содержимое. Ингалятор своими руками
|
Используя ингалятор и эфирное масло пихты (или другое – можжевельник, лаванда, мята) можно лечить и предупреждать заболевания носоглотки, гортани, бронхов, легких. Курильщикам, которые не в состоянии отказаться от вредной привычки, ингаляции смягчат пагубное влияние табачного дыма. Он также полезен тем, кто трудится во вредных условиях или проживает в экологически неблагоприятных условиях.
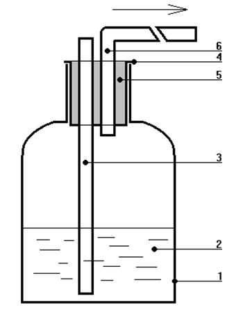
1) Флакон объемом 25-30мл2) Масло растительное, пихтовое
3) Полиэтиленовая трубка
4) Полиэтиленовая пробка
5) Пчелиный воск
6) Полиэтиленовая трубка длиной 40см
Для изготовления нужен стеклянный флакон на 25-30мл. Можно взять от валерианы, обязательно с двойной пробкой (с полиэтиленовой и завинчивающейся пластмассовой) и капельницу (одноразовую систему).
В полиэтиленовой пробке гвоздем диаметром 4мм, нагретым на газе, прожигаем рядом два отверстия, в них вставляем полиэтиленовые трубки от капельницы, так, чтобы одна возвышалась над пузырьком на 2-3см, одновременно упираясь в дно флакона. А другая трубка, длинной не менее 40см должна выходить на 0,5см ниже пробки (как показано на рисунке). Далее полую часть пробки заливаем пчелиным воском. Ингалятор готов к применению.
Во флакон наливаем на 1/3 объема эфирное масло или смесь из эфирных масел. Вставляем пробку с трубками в пузырек, через длинную трубку втягиваем воздух в себя, во флаконе образуется разряжение и воздух через короткую трубку и слой масла поступает в органы дыхания, обогащенный эфирным маслом.
При заболевании туберкулеза и онкологии ингаляцию делать 4-5 и более раза в сутки от нескольких затяжек до нескольких минут по самочувствию. Данное изобретение является аналогом всем известного ингалятора Махольда.
|
Понравилась статья? Порекомендуйте своим друзьям!
| Лидия | 19 декабря 10 14:54 | |
Рецепт элексира : ЛИМОН+ГЛИЦЕРИН+МЁД
Затем остудить, разрезать лимон пополам и выжать сок в стакан. К соку лимона добавить 2 ст. л. глицерина, долить в стакан до краев меду и все это тщательно перемешать. Принимать по 2 ст. л. смеси 3 раза в день за час до еды и на ночь. | ||


1) Флакон объемом 25-30мл